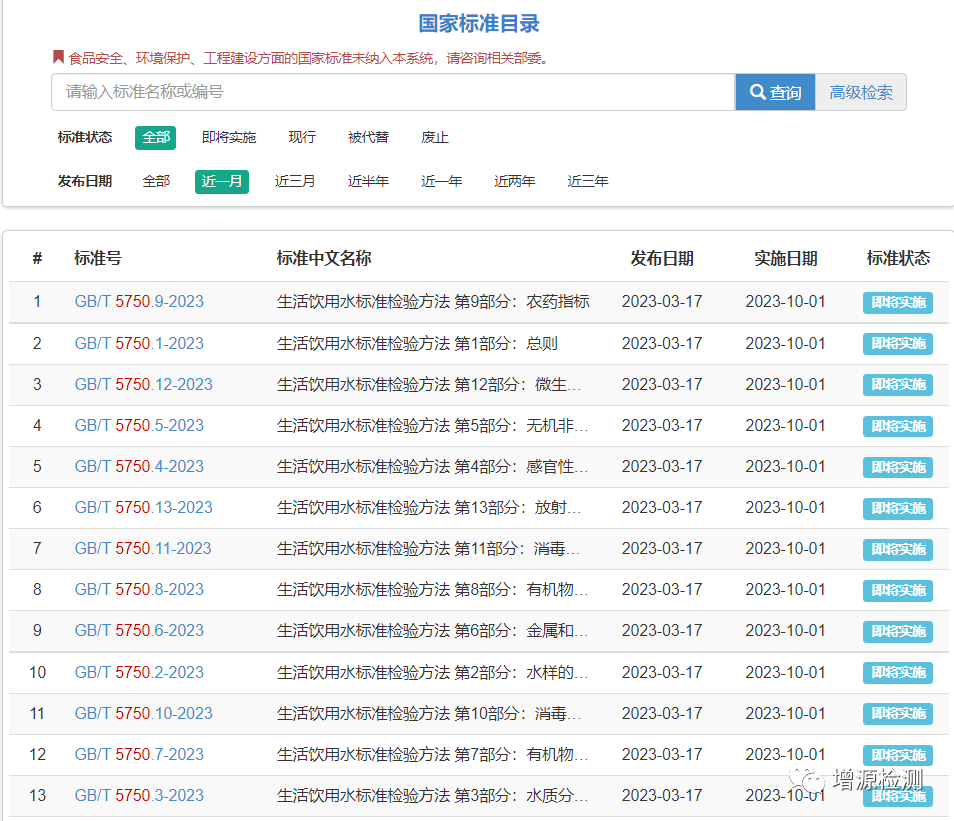
GB/T 5750-2023《生活饮用水标准检验方法》系列标准于2023年3月17日经国家市场监督管理总局(国家标准化管理委员会)批准发布,代替GB/T 5750-2006《生活饮用水标准检验方法》系列标准,自2023年10月1日起实施。

现行的GB/T 5750—2006《生活饮用水标准检验方法》是由卫生部和中国国家标准化管理委员会联合发布的,于2007年7月1日开始实施,距今已有十余年时间,近年来,国内外水质检验技术得到快速发展,卫生、建设、水务等相关部门的各级检测机构水质检验仪器设备配置亦得到一定提升,为满足《生活饮用水卫生标准》中水质指标的检验需求,高效、准确开展饮用水水质检验工作,因此对《生活饮用水标准检验方法》进行滚动修订,对检验方法进行补充和完善,为贯彻实施《生活饮用水卫生标准》、开展生活饮用水卫生安全性评价提供检验方法。